Gabelfedern quietschen
Gabelfedern quietschen
Hat jemand Gabelfedern von Wilbers eingebaut und sie haben gequietsch. Habe schon mit Wilbers gesprochen, ich soll sie ausbauen und nachmessen.
Re: Gabelfedern quietschen
Ne, hatte ich noch nie. Sicher dass es die Federn sind und nicht z.B. die Vorderbremse?
Gruß
Gruß
Re: Gabelfedern quietschen
Hallo
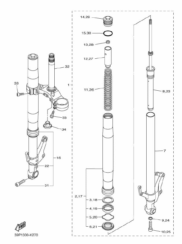
Also bei meiner wollte ich über dem Winter auch die Wilbers Gabelfedern ein bauen, über Polo gekauft. Nur bei dem Teil 12,27 passte die Ferder meines erachtens nicht. Die Originale wurde oben dünner. Die von Wilbers nicht und hatte ca 5mm Spiel. Habe sie zurückkegeben und mir die von Ohlins bestellt die ist oben auch enger wie die Originale.
Weiß aber nicht ob das dann quietscht.
Kann natürölich schon sein das bei dem großen Spiele die Feder bei dem Versatz am Aluminium irgendwo angeht.
Hast du die Ferder selber eingebaut?
Gruß Bert
Also bei meiner wollte ich über dem Winter auch die Wilbers Gabelfedern ein bauen, über Polo gekauft. Nur bei dem Teil 12,27 passte die Ferder meines erachtens nicht. Die Originale wurde oben dünner. Die von Wilbers nicht und hatte ca 5mm Spiel. Habe sie zurückkegeben und mir die von Ohlins bestellt die ist oben auch enger wie die Originale.
Weiß aber nicht ob das dann quietscht.
Kann natürölich schon sein das bei dem großen Spiele die Feder bei dem Versatz am Aluminium irgendwo angeht.
Hast du die Ferder selber eingebaut?
Gruß Bert
-
Fiftybusty
- Beiträge: 201
- Registriert: Fr 9. Mär 2012
- Motorrad: Yamaha FZ8
Re: Gabelfedern quietschen
ich denke auch das daher das problem kommt... die originalen sowie auch die ölins federn sind oben enger im durchmesser... dies muss dann eigentlich auch bei den wilbers so sein... wenn deine federn jetzt nicht enger werden ob sitzen sie natürlich lose und nicht zentriert auf dem zapfen auf der weissen plastik hülse... somit könnten die federn an den innenwänden schleifen und das quietschen verursachen...
hast du sie vll falsch herum verbaut ???? ist mir bei meinen ölins auch fast passiert....
gruß
hast du sie vll falsch herum verbaut ???? ist mir bei meinen ölins auch fast passiert....
gruß
Re: Gabelfedern quietschen
@FZ8muc
Ich bin nicht gefahren (Motor ist aus)daher kann es nicht an den Bremsen liegen.
@Bert
Habe gar nicht darauf geachtet, ob 12,27 genau wie bei den orig. drauf ist.
@Fiftybusty
Sind richtig eingebaut
Habe sie ausgebaut und sie sind 3mm im Durchmesser zu groß.
Ich bin nicht gefahren (Motor ist aus)daher kann es nicht an den Bremsen liegen.
@Bert
Habe gar nicht darauf geachtet, ob 12,27 genau wie bei den orig. drauf ist.
@Fiftybusty
Sind richtig eingebaut
Habe sie ausgebaut und sie sind 3mm im Durchmesser zu groß.
-
Fiftybusty
- Beiträge: 201
- Registriert: Fr 9. Mär 2012
- Motorrad: Yamaha FZ8
Re: Gabelfedern quietschen
im gesamten durchmesser ??? oder nur oben wo die original federn auch enger werden???
Re: Gabelfedern quietschen
In der gesamten Länge sind sie 38, die Orig. sind oben 35 unten 38Fiftybusty hat geschrieben:im gesamten durchmesser ? oder nur oben wo die original federn auch enger werden??
